Total Solutions

V Tower

     
VT2000-15
VT2000-15

Litestage

     
Q9268-001-170817
Q9268-001-170817

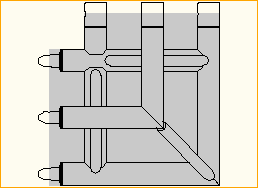
OV Tower

     
OV30-BU
OV30-BU

Base Unit
OV30-THP
OV30-THP

Tower Hinge Plate
OV30-SB
OV30-SB

Sleeveblock

OV30 Ladder > Strecken Draufsicht

     
50
50
100
100
150
150
200
200
250
250
300
300
400
400
500
500

OV30 Ladder > Strecken Seitenansicht

     
50
50
100
100
150
150
200
200
250
250
300
300
400
400
500
500

OV30 Ladder > Ecken

     
2-Weg-Winkel 90° horizontal
2-Weg-Winkel 90° horizontal

Draufsicht
2-Weg-Winkel 90° horizontal
2-Weg-Winkel 90° horizontal

Seitenansicht

OV30 Triangular, Dreieck oben > Strecken

     
100
100
150
150
200
200
350
350

OV30 Triangular, Dreieck oben > Ecken

     
OV30T-90
OV30T-90

2-Weg-Winkel 90° horizontal
OV30T-GP
OV30T-GP

2-Weg-Winkel 90° vertikal
OV30T-90+1A
OV30T-90+1A

2-Weg-Winkel 90° + Abgang runter Apex nach Westen

OV30 Triangular, Dreieck unten > Strecken

     
100
100
150
150
200
200
350
350

OV30 Triangular, Dreieck unten > Ecken

     
OV30T-90
OV30T-90

2-Weg-Winkel 90° horizontal
OV30T-GP
OV30T-GP

2-Weg-Winkel 90° vertikal
OV30T-90+1A
OV30T-90+1A

2-Weg-Winkel 90° + Abgang hoch Apex nach Norden

OV30 Square > Strecken

     
025
025
050
050
075
075
150
150
200
200
250
250
350
350
400
400

OV30 Square > Ecken

     
OV30-90
OV30-90

2-Weg-Winkel 90° horizontal
OV30-90
OV30-90

2-Weg-Winkel 90° vertikal
OV30-90+1
OV30-90+1

2-Weg-Winkel 90° + Abgang runter
OV30-3W
OV30-3W

3-Weg-Winkel horizontal
OV30-3W+1
OV30-3W+1

3-Weg-Winkel + Abgang hoch
OV30-3W+2
OV30-3W+2

3-Weg-Winkel + Abgang runter + Abgang hoch
OV30-CB
OV30-CB

Universale Blockecke
OV30-SC
OV30-SC

Variable Ecke

OV30 Square > Kreisteile

     
OV30CIR8M8
OV30CIR8M8

d=4000mm Kreisteil 8teilig

OV30 Square > Vollkreise

     
OV30CIR8M8
OV30CIR8M8

d=4000mm Vollkreis

OV30 Square > Bodenplatten

     
OV30-BP-M-100
OV30-BP-M-100

Draufsicht
OV30-BP-M-100
OV30-BP-M-100

Seitenansicht

OV30 Square > Zubehör

     
OV30-TPB-Mkll
OV30-TPB-Mkll

Pickup Beam

OV40 Triangular, Dreieck oben > Strecken

     
300
300
400
400

OV40 Triangular, Dreieck unten > Strecken

     
300
300
400
400

OV40 Square > Strecken

     
025
025
040
040
050
050
075
075
100
100
150
150
250
250
300
300
350
350

OV40 Square > Ecken

     
OV40-90
OV40-90

2-Weg-Winkel 90° horizontal
OV40-90
OV40-90

2-Weg-Winkel 90° vertikal
OV40-CB
OV40-CB

Universale Blockecke

OV40 Square > Zubehör

     
OV40-TPB-Mkll
OV40-TPB-Mkll

Pickup Beam

Moving Light Truss

     
LAD10F
LAD10F

Legs up

TFL Generic Truss > Light Duty Square > Strecken

     
031
031

1ft
040
040
046
046

1.6ft
060
060
061
061

2ft
091
091

3ft
122
122

4ft
150
150
152
152

5ft
200
200
244
244

8ft
250
250
305
305

10ft
350
350
400
400
530
530

TFL Generic Truss > Light Duty Square > Ecken

     
LDC122N
LDC122N

2-Weg-Winkel 90°
LDC122+1N
LDC122+1N

2-Weg-Winkel 90° + Abgang hoch
LDC123N
LDC123N

3-Weg-Winkel
LDC124N
LDC124N

4-Weg-Winkel
LDC125N
LDC125N

5-Weg-Winkel

TFL Generic Truss > Light Duty Square > Kreisteile

     
d=3000cm Kreisteil
d=3000cm Kreisteil

4teilig

TFL Generic Truss > Light Duty Square > Vollkreise

     
d=3000cm Kreisteil
d=3000cm Kreisteil

als Vollkreis 4teilig

TFL Generic Truss > Medium Duty Triangular, Dreieck oben > Strecken

     
050
050
061
061

2ft
100
100
200
200
220
220
240
240
300
300
305
305

10ft
400
400

TFL Generic Truss > Medium Duty Triangular, Dreieck oben > Ecken

     
MDTC2N
MDTC2N

2-Weg-Winkel 90°
MDTC3N
MDTC3N

3-Weg-Winkel
MDTC4N
MDTC4N

4-Weg-Winkel

TFL Generic Truss > Medium Duty Triangular, Dreieck unten > Strecken

     
050
050
061
061

2ft
100
100
200
200
220
220
240
240
300
300
305
305

10ft
400
400

TFL Generic Truss > Medium Duty Triangular, Dreieck unten > Ecken

     
MDTC2N
MDTC2N

2-Weg-Winkel 90°
MDTC3N
MDTC3N

3-Weg-Winkel
MDTC4N
MDTC4N

4-Weg-Winkel

TFL Generic Truss > Medium Duty Square > Strecken

     
050
050
100
100
122
122

4ft
152
152

5ft
183
183

6ft
200
200
250
250
274
274

9ft
300
300
400
400
500
500

TFL Generic Truss > Medium Duty Square > Ecken

     
MDC2N
MDC2N

2-Weg-Winkel 90°
MDC2+1N
MDC2+1N

2-Weg-Winkel 90° + Abgang hoch
MDC3N
MDC3N

3-Weg-Winkel
MDC4N
MDC4N

4-Weg-Winkel
MDC5N
MDC5N

5-Weg-Winkel
MDC6N
MDC6N

6-Weg-Winkel
MDS4N
MDS4N

Sleeveblock

TFL Generic Truss > Medium Duty Square > Zubehör

     
MDTPB
MDTPB

Pickup Beam

TFL Generic Truss > Heavy Duty Rectangle > Strecken

     
100
100
150
150
152
152

5ft
244
244

8ft
300
300
305
305

10ft

TFL Generic Truss > Heavy Duty Rectangle > Ecken

     
HDC2N
HDC2N

2-Weg-Winkel 90°
HDC3N
HDC3N

3-Weg-Winkel
HDC4N
HDC4N

4-Weg-Winkel

TFL Generic Truss > XO Triangular, Dreieck oben > Strecken

     
100
100
150
150
200
200
300
300
400
400
500
500

TFL Generic Truss > XO Triangular, Dreieck oben > Ecken

     
XOTC2
XOTC2

2-Weg-Winkel 90°
XOTC2+1A
XOTC2+1A

2-Weg-Winkel 90° + Abgang runter Apex nach Osten
XOTC2+1B
XOTC2+1B

2-Weg-Winkel 90° + Abgang runter Apex nach Süden

TFL Generic Truss > XO Triangular, Dreieck unten > Strecken

     
100
100
150
150
200
200
300
300
400
400
500
500

TFL Generic Truss > XO Triangular, Dreieck unten > Ecken

     
XOTC2
XOTC2

2-Weg-Winkel 90°
XOTC2+1A
XOTC2+1A

2-Weg-Winkel 90° + Abgang hoch Apex nach Süden
XOTC2+1B
XOTC2+1B

2-Weg-Winkel 90° + Abgang hoch Apex nach Osten

TFL Generic Truss > XO Square > Strecken

     
050
050
075
075
100
100
200
200
250
250
300
300

TFL Generic Truss > XO Square > Ecken

     
XOSC2
XOSC2

2-Weg-Winkel 90°
XOSC2GPA
XOSC2GPA

2-Weg-Winkel 90° Anbindung oben
XOSC2GPB
XOSC2GPB

2-Weg-Winkel 90° nur Nut
XOSC2+1B
XOSC2+1B

2-Weg-Winkel 90° + Abgang runter Anbindung Nord/Süd
XOSC3
XOSC3

3-Weg-Winkel
XOSC3+1A
XOSC3+1A

3-Weg-Winkel Feder-Nut-Nut + Abgang runter
XOSC4
XOSC4

4-Weg-Winkel
XOSC6A
XOSC6A

6-Weg-Winkel Anbindung Ost/West
XOSC6B
XOSC6B

6-Weg-Winkel Anbindung Nord/Süd
XOSCU
XOSCU

TFL Serious Truss > Serious Light Duty Square > Strecken

     
050
050
075
075
100
100
150
150
200
200
250
250
400
400

TFL Serious Truss > Serious Light Duty Square > Ecken

     
SDLC3+1A
SDLC3+1A

3-Weg-Winkel, Nut-Nut-Feder
SDLC3+1B
SDLC3+1B

3-Weg-Winkel, Nut-Feder-Feder

TFL Serious Truss > Serious Medium Duty Square > Strecken

     
050
050
100
100
150
150
200
200
244
244

8ft
300
300

TFL Serious Truss > Serious Medium Duty Square > Ecken

     
SMDSLV-4W
SMDSLV-4W

Sleeveblock

TFL Serious Truss > Serious Heavy Duty Rectangle > Strecken

     
050
050
100
100
150
150
250
250
300
300
400
400

TFL Serious Truss > Serious Heavy Duty Rectangle > Ecken

     
SHDC2
SHDC2

2-Weg-Winkel
SHDC3A
SHDC3A

3-Weg-Winkel, Feder-Nut-Nut
SHDC3B
SHDC3B

3-Weg-Winkel, Feder-Feder-Nut
SHD SER-HD-SLV 12in
SHD SER-HD-SLV 12in

Sleeveblock 12inch
SHD SER-HD-SLV 18in
SHD SER-HD-SLV 18in

Sleeveblock 18inch

TFL Serious Truss > Serious Heavy Duty Rectangle > Zubehör

     
SHDSPUP
SHDSPUP

Feder
SHDSPUP
SHDSPUP

Nut
SHD-5DEG
SHD-5DEG

Spacer A
SHD-5DEG
SHD-5DEG

Spacer B rund
SHD-5DEG
SHD-5DEG

Spacer C

TFL Serious Truss > Extra Heavy Duty Square > Strecken

     
300
300

TFL Serious Truss > Extra Heavy Duty Square > Ecken

     
EHDSLV
EHDSLV

Sleeveblock
EHDSLV-1
EHDSLV-1

Sleeveblock Nut links + Truss rechts
EHDSLV-2
EHDSLV-2

Sleeveblock Feder links + Truss rechts

TFL Tower Systems > 12inch Tower

     
12GSB
12GSB

Base Unit
12GSB
12GSB

Base Unit with Outriggers
12GSTHNHD
12GSTHNHD

Hinge Section, HD Truss 1110mm
HINGE-MD-MK4
HINGE-MD-MK4

Hinge Section
12GST0.5N
12GST0.5N

0.5m Vertical Truss
12GST1N
12GST1N

1m Vertical Truss
12GST2.5N
12GST2.5N

2.5m Vertical Truss
12GST3N
12GST3N

3m Vertical Truss
12TP1000
12TP1000

Head Block

TFL Tower Systems > 18inch Tower

     
18GSB
18GSB

Base Unit
18GST-EHD-HINGE
18GST-EHD-HINGE

Hinge Section
18GST2N
18GST2N

2m Vertical Truss
18GSTP1000
18GSTP1000

Head Block

TFL UHD Systems > UHD Triangular, Dreieck oben > Strecken

     
100
100
200
200
400
400

TFL UHD Systems > UHD Triangular, Dreieck unten > Strecken

     
100
100
200
200
400
400

TFL UHD Systems > UHD Rectangle > Strecken

     
104
104
207
207
311
311

TFL UHD Systems > UHD Tower

     
UHD-T-Base
UHD-T-Base

Base Unit
UHD-T-1-5M
UHD-T-1-5M

1.5m Vertikal Truss
UHD-T-2M
UHD-T-2M

2m Vertikal Truss
UHDSLEEVE
UHDSLEEVE

Sleeveblock
UHD-T-TP
UHD-T-TP

Head Block